Welding Cart

General Layout Construction References Return to Home

General

Trying to save space in the garage, I am building a single cart to hold all the electric welding equipment. I had thought that I would like to be able to move the cart between the basement and the garage, but the total weight is large, and this will only be possible with the help of my very muscular son.

Layout

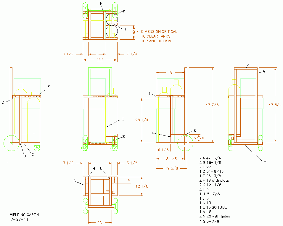
Dimensional diagram
Multi-plan view.


Dimensional diagram
Assembly by sections from bottom up.


Dimensional diagram Dimensional diagram
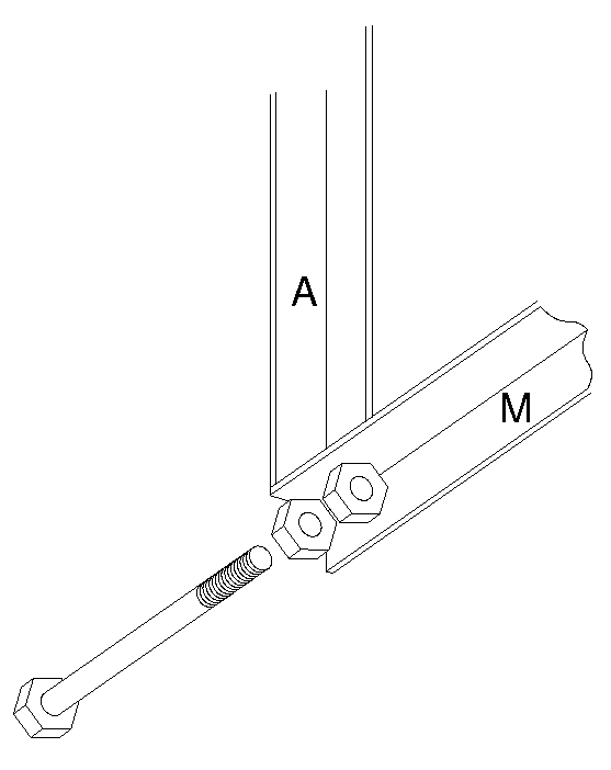
Tank riser section on right side. Wheel axle bolt receiver nuts.
Back to Top

Construction

I am using angle iron from old bed frames that I have collected over the years. This may not be the best material for weight, strength, and weldability considerations, but the price is right.
Back to Top

References

None. It is all original.
Back to Top

Copyright Dale Thompson.
Last revised: November 23, 2009.